java项目-第41期ssm项目源码在线考试...
java项目-第102期基于ssm的校园二手交...
java项目-第49期基于ssm药品管理系统
java项目_第107期基于ssm+shiro的垃圾...
java项目_第116期基于SpringBoot+MyB...
java项目-第130期ssm动物园管理系统-...
java项目-第168期ssm二手车交易网站-...
java项目-第169期ssm二手交易平台网站...
java项目-第008期基于ssm在线游戏商城...
java精品源码-第19期基于ssm在线水果...
java项目-第160期ssm大学生校园兼职系...
java项目-第13期基于android手机商城...
java精品项目-第27期ssm宠物医院管理...
java项目-第149期ssm师生交流平台-ja...java项目-(048)基于ssm家政服务网站系统
1、项目简述
分为家政人员,普通用户,以及最高管理员
1.用户的注册、登录、退出系统
2.用户的个性化推荐(基于物品的协同过滤)
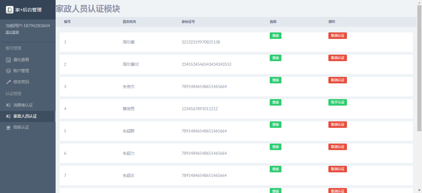
3.家政人员上传资料、身份认证和资格认证
4.消费者发布预约、查看预约、确认预约、评价订单、删除订单、修改个人资料
5.家政人员修改个人资料、申请预约、接受订单、取消订单、完成订单
6.管理员对用户认证管理和系统的量化查看
2、运行环境
Jdk1.8 + Tomcat8.5 + mysql + Eclispe(IntelliJ IDEA,Eclispe,MyEclispe,Sts都支持)
项目技术:
JSP +Spring + SpringMVC + MyBatis + html+ css + JavaScript + JQuery + Ajax + easyui等等
3、项目访问
后台访问地址: http://localhost:8080/JavaWebProject/login.jsp
(1)消费者登录 帐号:18796283605
(2)家政人员登录 帐号:18796283604
(3)管理员登录 帐号:18796283601 密码都是123456
4、运行截图







小二微信: qq864765462 欢迎随时交流更多【网站源码】请访问 www.hballsoft.com


1、自动:在上方保障服务中标有自动发货的虚拟商品,拍下后,将会自动收到来自卖家的商品,在订单详情中查看卡密/或下载链接;
2、手动:未标有自动发货的的商品,拍下后,卖家会收到邮件、短信提醒,买家可通过QQ/电话的方式联系商家发货。

1、描述:商品源码交易描述(含标题)与实际商品不一致的(例:描述充值的QQ会员一年,实际只充值了一个月或充值其他QQ钻等);
2、演示:有演示站时,与实际商品小于95%一致的(但描述中有"不保证完全一样、有变化的可能性"类似显著声明的除外);
3、发货:手动发货商品,在卖家未发货前,已申请退款的;
4、服务:卖家不提供安装服务或需额外收费的(但描述中有显著声明的除外);
5、其他:如质量方面的硬性常规问题等。
注:经核实符合上述任一,均支持退款,但卖家予以积极解决问题则除外。交易中的商品,卖家无法对描述进行修改!

1、在未拍下前,双方在QQ上所商定的内容,亦可成为纠纷评判依据(商定与描述冲突时,商定为准);
2、在商品同时有网站演示与图片演示,且站演与图演不一致时,默认按图演作为纠纷评判依据(特别声明或有商定除外);
3、在没有"无任何正当退款依据"的前提下,写有"一旦售出,概不支持退款"等类似的声明,视为无效声明;
4、虽然交易产生纠纷的几率很小,但请尽量保留如聊天记录这样的重要信息,以防产生纠纷时便于我司工作人员介入快速处理。